模式一:
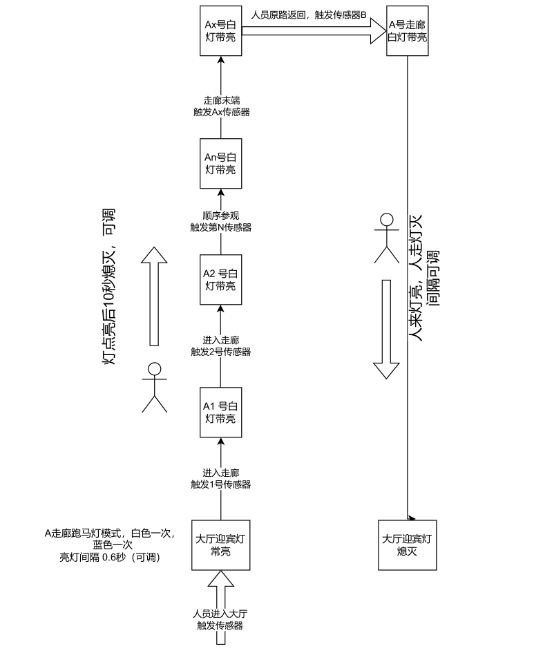
第一個探頭探測到有人到(或者中控系統點控)執行1、2、3、4、5、6、7……燈的逐步亮(先白后藍),時間間隔可設置(0.6秒);然后再在走廊內執行人來燈亮(僅白色燈亮),已亮的燈執行5-10秒延時,然后再關燈。
如返回,從對側返回,僅執行人來燈亮,人走燈滅。

展廳智能照明系統方案原理圖:

W-BUS智能照明系統拓撲圖:

W-BUS智能建筑控制系統基于物聯網技術,綜合運用嵌入式軟硬件技術、傳感器技術、通信技術、信息處理技術等,通過
W-BUS 總線系統,實現對對照明、影音多媒體、空調、窗簾、安防監控等設備的智能控制。系統不僅可智能控制照明光源的調光、開關,也可用于窗簾、空調、投影儀、AV 功放、藍光機、點歌機等設備的控制,并與消防、保安、門禁等系統聯動,還可對用電回路進行電流、電壓、功率等電量數據分析。從而可使到管理智能化、操作簡單化、使用節能化,為人們創造更加舒適、方便、安全、高效、低碳、節能的工作生活環境。
系統組成 :W-BUS智能建筑控制系統通常由調光模塊、調光硅箱、智能開關模塊、窗簾控制模塊、空調控制模塊、LED 調色模塊、場景控
制面板、真彩觸摸屏、遙控器、時鐘管理器、干觸點輸入模塊、人體移動感應器、環境亮度感應器、協議轉換模塊、中控網關等設備組成,將上述
各種具備獨立控制功能的模塊用一根五類四對數據通訊總線將它們聯接起來組成一個控制網絡,其典型系統如下圖所示。
W-BUS 智能建筑控制系統是一種事件驅動型分布式網絡系統,所有接在總線上的每個設備,都有內置微處理器,每個設備都附有一個唯一的通信地址,它能在總線上“收聽” 或向總線上“廣播”信息,當它響應了總線上的信息并經處理后再將自己的信息廣播到總線上,以事件驅動方式實現系統的各種控制功能。
W-BUS智能系統采用 4 線制總線,其中 2 線為每個模塊提供 24V 直流工作電源的正負極,另 2 線為通信控制信號的正負極。
W-BUS 系統一個網關最多可掛載 128 個帶通信功能的設備,通信距離最遠 1000 米。當設備需求大于單個網關的容量時,可把多個網關聯接起來構成一個大型網絡。
最多可由 128 個網關構成一個具備實時監控反饋以及中控控制的大型網絡。當通信距離大于 1000 米時,可通過中繼器或光纖轉換延長通信距離,采用光纖轉換器最遠可達幾十公里。